拿下13亿融资的Keep仍无法盈利,运动赛道的故事还能怎么讲

5月19日,Keep宣布完成8000万美元的E轮融资。距离1.27亿美元的D轮融资,已经过去22个月。Keep的融资节奏也由最初一年2次逐渐慢了下来。
成为赛道头部玩家后,Keep的烦恼也不少。去年一篇《Keep的困局与终局》一石激起千层浪。Keep内部的矛盾、对业务的迷茫、核心层成长速度被摊开细数,Keep团队炸锅,开始在团队内部排查文章的作者。而今,这篇文章也不知所踪,“查无此人”。
Keep的烦恼:线上难留存用户、线下陆续关店
Keep的故事开端起源于创始人王宁自身的减肥之路。
从2014年开始,Keep从课程发展到现在的卖课程、卖运动周边,2018年还首次试水在北京华贸开设了线下店Keepland。当时Keep的意图是,把线下店做成星巴克。内部不允许说“健身房”三个字,如果谁说了就会罚微信红包。“像卖咖啡一样卖训练课”。
这样的美好愿景被现实打破。去年, Keepland发布通告,称出于门店运营效率考虑,位于北京青年路的达美店停止运营。而到了今年4月,Keepland宣布关闭了在上海三家门店,分别是静安大悦城店、长风大悦城店和金桥店。至此,Keepland在上海的门店全部关闭,退出了上海市场。
无人买单、成本高昂,是Keep陆续关店最主要的原因。
对此,Keep相关负责人表示,公司出于门店运营效率的考虑,决定闭店暂做修整。现阶段主要聚焦北京市,接下来会有持续开店的计划。Keep投资方贝塔斯曼亚洲投资基金董事总经理汪天凡对外表示,不要过度关注Keepland,“Keepland目前在公司的收入贡献不到1/10。”
Keep急需要找到变现的路径。但除了线下发展遇阻,Keep线上的拓展也颇为艰难。
根据《Keep不懂自律》一文中的数据,Keep活跃用户数据在上升,但是用户使用时长已经跌回到2016年的水平,2017年是数据尖峰,后来就呈下降状态了。

数据来源:QuestMobile
《Keep的困局与终局》中指出,虽然在流量方面可以通过渠道投放持续的采购,但是采购回来的流量留存不住,花出去的钱ROI是不划算的。长期看用户使用时长下跌,也说明产品本身的产品和服务,正在渐渐变得留不住用户。
为了在 DAU 上实现新的突破,Keep 在2019年大手笔投放买量。据QM数据显示,仅6-7月就进行了4000万的投放,最高峰一天烧掉20万是不在话下的。“高低峰平衡粗略估算,一年投放扔的资本不下2亿。”
但《Keep的困局与终局》也表示,多数以上的新增用户都只在首天活跃,留存极低。“可以说,这2亿,和花钱买石头扔进湖里听响,本质上没什么区别。这样的行为与其说做业务,不如说是在做赌徒。”
Keep 中流传这一句对现状的总结:CPU迷茫,中层痛苦,底层佛系。
事实上,王宁的管理风格是权力集中制。旗下运营、技术,亦或是市场品牌再或是运动商城等分管部门都向王宁直接汇报。根据此前的报道,Keep内部中高层流动频繁。
高层流失,团队不稳,是内部机制的又一个隐患。
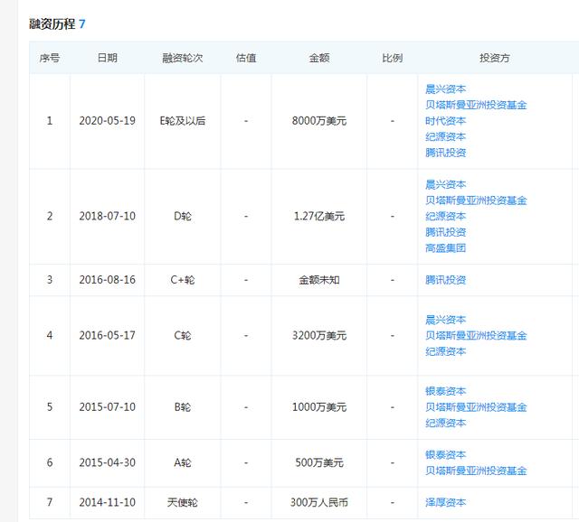
6年7轮融资 晨兴资本、纪源资本、贝塔斯曼多次加持
无论内部的探索如何,从目前的规模和行业位置来看,Keep已经跑道赛道的首位。这一点,从吸金能力可见一斑。
5月19日, Keep宣布完成8000万美元E轮融资,该轮融资由时代资本领投,GGV纪源资本、腾讯、晨兴资本和 BAI等老股东跟投,泰合资本担任本轮融资独家财务顾问。据悉,投后估值已超过十亿美元。
此前,Keep共完成6轮融资,累计融资1.87亿美元。2015-2016年,Keep保持每年融资2轮的速度,快速跑马圈地式建立了自己的围墙。虽然这种势头在2017年暂缓,但2018年7月,Keep完成了1.27亿美元的D轮融资,这在当时资本寒冬的背景下,是行业金额较大的一笔融资。
细数背后的投资方,包括晨兴资本、贝塔斯曼、腾讯投资、纪源资本等。但这几轮融资下来,几乎都是老股东持续下注跟投。其中银泰资本投资A、B两轮;贝塔斯曼连续下注5轮;晨兴资本投资3轮;纪源资本下注4次。

数据来源:企查查
而在最近公布的E轮融资中,新跟进的投资方仅时代资本一家,其余皆为老股东跟投。是原有股东因对其业务的信心所致,还是资本寒冬下的无奈之举,也很难说。
事实上,互联网+运动赛道的故事在2015年开始进入快速攀升阶段,但自2018年起,投资人变得冷静下来。
投资人在等待一种颠覆性创新的互联网运动项目。
业内,一家以TMT行业早期捕手闻名的投资机构也曾系统性的扫描健身这一个大领域。但一番扫货后,仍保持观望状态。投资人告诉《融中财经》,最大的迟疑在于,在中国经济历经蓬勃的发展后,中国健身行业还是几十年如一日的状态。不同于半导体、医药这样高技术壁垒的行业,健身的掣肘是,它几乎没有门槛。
尤其以线下健身房这类项目为甚,陷入了开店、不盈利、倒闭跑路的“麦田怪圈”。
“业内还是照着葫芦画瓢,仍然是一兆韦德的那一套。”上述投资人对业内的头部企业逐一接触了一遍,但仍未找到心仪之人。“一些项目开始更加娱乐化,但是没有突破性创新,还是冷兵器时代的产物。”
运动赛道如何继续讲故事
一项数据显示,到2020年,我国的健身市场规模将达到1230亿元。从线下健身房、健身仓、平台内容到健身器械、健身应用再到运动康复和慢性病管理。
另外一面,是难以教育的市场,在互联网项目不断下沉再下沉之后,健身千亿市场的渗透率仅为1%,且集中在一二线城市。千亿蓝海,资本不会错过。但投资人们仍是趑趄不前。
资本仍然在关注健身领域,但选择上更为谨慎。事实上,回顾过去两年健身领域的融资情况,获得融资最多的品类仍是以线下为主,这其中又包含瑜伽、团操、新型健身房等,线上与互联网结合的项目次之,然后是健身器械、运动康复,管理服务商等。
业内有投资人直言,虽然Keep培养了中国上亿的用户健身意识,乐刻和超级猩猩落地了部分小白健身的用户习惯,但是未来承接这些用户的核心健身消费,或许仍然是实体健身房。但无论线上还是线下,商业本质是,盈利。
但现在,即便是头部Keep也仍在盈利的沼泽中找不到出路,线下健身房更是泥菩萨过河,自身难保。
数据显示,一家小型健身俱乐部的投入约在30万元至100万元左右,同时大多数传统健身房后期盈利不足。2017年中国约有40%的健身房处于严重亏损状态,传统健身房规模化扩张的方式不可持续。
“自律给我自由。”但又有几个人能做到?就像上述投资人说的:“运动本身就是一个反人性的事。我们爱的是美食、是旅游、是休闲按摩。”
Keep满足了一部分健身小白的需求,但是,需要直视的是,如果仅仅是课程,用户可以打开B站。
根据B站粉丝数量显示,Fit健身App的粉丝为10.1万,Keep移动健身App粉丝为1.3万。而周六野Zoey拥有608.9万粉丝。此外,Pamela Reif、CholeTing等海外博主的搬运视频的播放量动辄十余万。
而周六野最近发布的腹肌训练视频,发布7个小时,播放量已经达到75万、最近一个月内,其播放量平均在220万上下。最高的达到443.2万,最低也有165.2万。而且,这些视频是永久免费的。
要知道,微博上,这类运动视频博主也通过售卖运动服饰变现。这就成为Keep等企业的问题,养一只巨大的团队,但却不敌个人博主。
运动赛道上,如何留存用户,让用户不只停留在首页,而是产生更紧密的粘性,让用户掏出钱包。对于赛道内的诸多玩家,仍然都在探索。
已累计融资1.87亿美元的Keep。机会是否比别人更多,要画一个问号。
© 版权声明
文章版权归原作者所有,未经允许请勿转载。



